農業資材

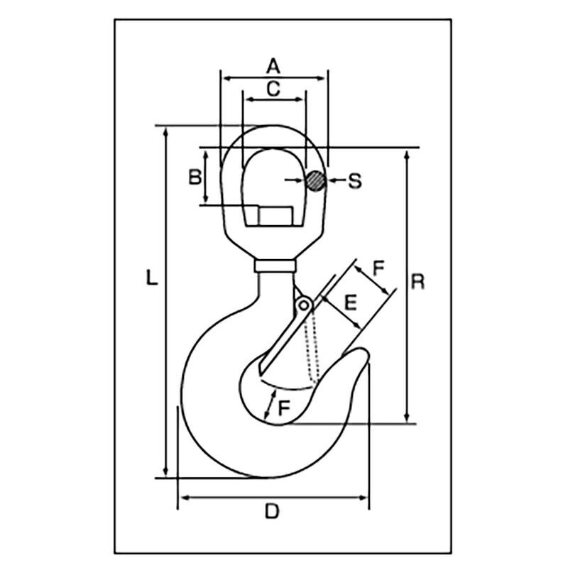
吊具 スイベルフックラッチ付 型式 使用荷重 破断荷重 自重 スリエッチ 信頼の スリエッチ